Каталог
Каталог Написать в WhatsApp
Мотоэкипировка

Механизм переключения передач (часть 1) КВАДРОЦИКЛА STELS ATV 600 GT

Механизм переключения передач (часть 1) КВАДРОЦИКЛА STELS ATV 600 GT в Санкт-Петербурге: актуальный каталог, цены, фото, описание. Купите механизм переключения передач (часть 1) квадроцикла stels atv 600 gt в кредит – оформите заявку онлайн за 1 минуту!

Оригинальные запчасти

Артикул НАИМЕНОВАНИЕ Кол-во деталей в узле Примечание Наличие Цена Аналоги Фото
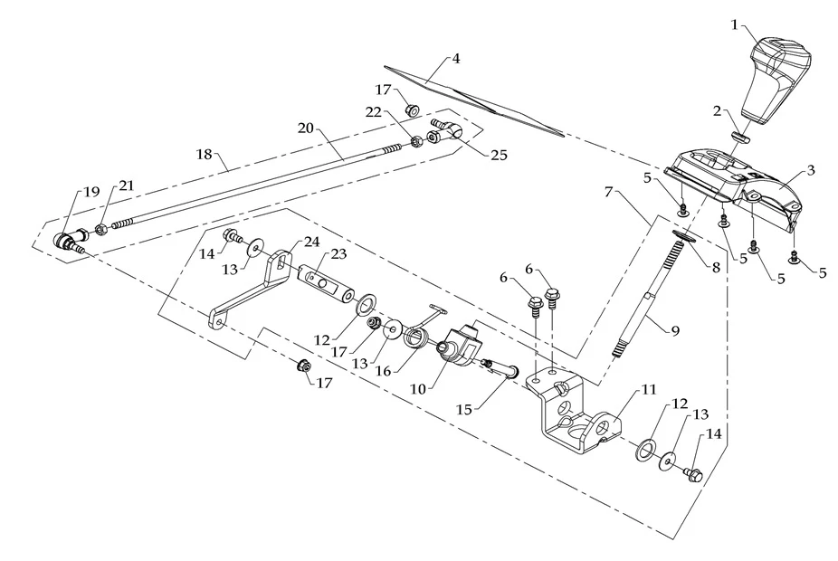
1 LU013986 Ручка переключения передач F210073-00

Под заказ

1

Под заказ

уточнить

1 450

Купить
2 LU013988 Панель индикации включенной передачи, пластик F210033-00,F210033B00,F210033A00,F210033C00

Под заказ

1

Под заказ

уточнить

1 950

Купить
3 LU013989 Щиток грязезащитный панели индикации, пластик F210020-00

Под заказ

1

Под заказ

уточнить

1 160

Купить
4 LU013751 Болт с фланцем M6x1.0x 16мм , сталь 9102-06-016

В наличии

2

В наличии

130

40

Купить
5 LU013990 Механизм переключения передач F210071A00,F210071B00

Под заказ

1

Под заказ

уточнить

Купить
6 LU013991 Прокладка пылезащитная, резина A090054-00

Под заказ

1

Под заказ

уточнить

Купить
7 LU023280 Шток шарнира переключения передач (Long) F210068B45

Под заказ

1

Под заказ

уточнить

2 430

Купить
8 LU013993 Шарнир мех-ма переключения передач F210069-00

Под заказ

1

Под заказ

уточнить

7 480

Купить
9 LU013994 Кронштейн креплления шарнира переключения передач F210066-00

Под заказ

1

Под заказ

уточнить

Купить
10 LU013995 Шайба 16.2х25х1.5мм, сталь A080121-00, 8.8.01.0190,8.8.01.0210

Под заказ

2
Ø16.2XØ25X1.5t
Ø16.2XØ25X1.5t

Под заказ

уточнить

60

Купить
11 LU013996 Шайба 6×21×1.0мм, сталь A080105-41

Под заказ

3
Ø6ר21×1.0t
Ø6ר21×1.0t

Под заказ

уточнить

Купить
12 LU013750 Болт с фланцем M6x1.0x 12мм, сталь 9102-06-012, PFKL1214292

В наличии

2

В наличии

130

40

Купить
13 LU013997 Болт шарнира мех-ма перкл. передач М6х1,0мм, сталь A050262-00

Под заказ

1

Под заказ

уточнить

Купить
14 LU013998 Пружина (сжатия) возвратн. рычага перекл-я передач A110060-44

Под заказ

1

Под заказ

уточнить

Купить
15 LU013754 Гайка с фланцем самоконтр. М6х1.0 мм, сталь 9203-06-100

Под заказ

3
M6x1.0
M6x1.0

Под заказ

уточнить

30

Купить
16 LU013999 Тяга рычага переключения передач, в сборе F210023-00

Под заказ

1

Под заказ

уточнить

1 560

Купить
17 LU014001 Тяга рычага переключения передач F210022-42

Под заказ

1

Под заказ

уточнить

Купить
18 LU014002 Гайка M6х1.0мм, сталь 9201-06-100

Под заказ

1

Под заказ

уточнить

300

Купить
19 LU014003 Гайка M6х1.0мм (левая резьба), сталь 9201-06-100L

Под заказ

1

Под заказ

уточнить

200

Купить
20 LU014004 Вал рычага переключения передач F210129-00

Под заказ

1

Под заказ

уточнить

Купить
21 LU014005 Рычаг переключения передач F210128-50

Под заказ

1

Под заказ

уточнить

Купить

Нулевая цена не означает отсутствие товара. Оформите заказ, и менеджер сообщит вам цену и наличие товара, предварительно запросив их у поставщика

Главная Магазины
Корзина0
Профиль